2022년 8월 경에 열린 삼성 갤럭시 언팩 2022에서 공개된 '삼성 Z 플립4'는 폴더블 디스플레이가 탑재된 스마트폰이다. 폴더블 디스플레이는 휘어지고 접힌다는 점이 가장 큰 장점이자 기능이다.
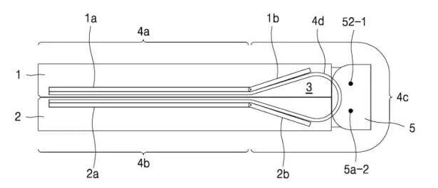
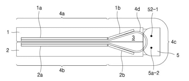
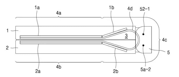
이를 구현하기 위해서는 안정적으로 접고, 피고 할 수 있게 해주는 '힌지' 부품이 필요한데, KH바텍은 힌지를 만들고 있다.
휴대폰 특성상 늘 소지하면서 자주 확인하기 때문에 화면을 여러 번 열고 닫고를 반복할 것이다. 또한 수분(물)과 먼지가 있는 상황에서도 내구성을 유지해야 한다. 이런 극한의 상황에서 조건을 충족하는 힌지 부품을 만드는 곳이 전 세계적으로 많지 않다.



KH바텍은 1992년 설립된 IT 디바이스 전문 업체다. KH바텍은 힌지뿐만 아니라 휴대폰이나 노트북 등 IT 디바이스 제품에 사용되는 AL(알루미늄), MG(마그네슘), ZN(아연), Copper(구리), Stainless(스테인리스), titanium(티타늄) 등의 재질을 이용한 내외방 부품, 캐스팅 제품과 조립모듈, FPCB를 생산 중에 있다.
기타 품목으로는 자동차 부품을 생산 중이고 DRL(주간주행등), PSTN(포지셔닝 램프), RCL(리어콤비네이션 램프) 등의 부품을 주력으로 하고 있다.


KH바텍의 2022년 매출 비중은 스마트폰의 내장재, 외장재로 사용되는 알루미늄 품목이 28%, 외장 힌지인 조립모듈이 59.7%, 금형과 상품매출인 기타가 4.7%, 연성 회로기판 FPCB가 7.6%이다.
2023년 1분기 매출 비중은 알루미늄 품목 46.9%, 조립모듈 25.9%, 기타가 11.3%, FPCB가 15.9%이다. 원래는 힌지 매출이 제일 높으나 1~2분기는 비수기임을 감안해야 한다. (폴더블폰은 3~4분기에 생산됨.)
국내, 해외 매출 비중은 각각 18%, 82%이다. 해외 매출 비중이 높은 이유는 삼성전자의 휴대폰 공장이 베트남 하노이에 위치하고 있기 때문이다.

주주 구성은 최대주주 나광희 외 3인이 25.26%, 자사주가 4.22% 보유 중이다.

글로벌 휴대폰 제조사에서 폴더블폰을 양산하여 판매하는 곳이 삼성전자 외에 중국 기업들이 대부분이었으며 최근 구글과 모토로라가 '구글 픽셀 폴드', '레이저 40 울트라'를 출시하며 시장에 진입하였다.
시장조사기관 IDC에 따르면 2022년 3분기 중국 폴더블폰 시장에서 화웨이는 점유율 1위(44.9%)를 기록했다. 이어 삼성이 2위(22.2%)였고 비보 3위(11.9%), 샤오미 4위(9.3%)로 집계됐다.
트렌드포스에 따르면 삼성전자는 지난해 글로벌 폴더블폰 시장에서 82%의 점유율을 차지했다. 삼성전자의 점유율이 압도적인 이유는 샤오미, 오포 및 비보와 같은 다른 폴더블폰 제조업체가 중국에서만 제한된 수량으로 제품을 판매하고 있기 때문이다. 시장조사업체 카날리스에 따르면 지난해 약 1420만 개 폴더블폰이 판매됐고, 이 중 약 1200만 개가 갤럭시 브랜드였다.

내구성에서 폴더블폰이 새로 출시되었을 2019년에는 모토로라가 내놓은 폴더블 스마트폰 ‘레이저’는 테스트에서 고작 2.7만 회 만에 힌지 부분이 견디지 못하는 결함을 보였다. (당시 갤럭시 폴드는 12만 회 이상) 중화권 업체의 힌지를 채택했었는데 국내 업체와의 경쟁력 차이를 보여줬다.
얼마 전 화웨이가 2022년 출시한 '포켓S' 폴더블폰은 40만 번의 폴딩 테스트를 통과했다고 밝혔다. 비보보다도 10만 번 더 폴딩 할 수 있으며, 갤럭시Z폴드4가 폴딩 테스트에서 20만 번을 기록했다.
중국이 발표한 내용이라 100% 사실인지는 모르겠으나 어쨌든 무서운 속도로 따라오긴 했다. 그럼에도 완성도는 떨어지는 모습이 보인다. 아래 사진처럼 틈이 있으면 완전 방수·방진이 불가능하다.

이번 모토로라가 출시한 '레이저 40 울트라'는 외부 디스플레이가 갤럭시Z플립4보다 화면이 크고, 펀치홀(Hole punch) 디스플레이를 사용하여 보다 높은 완성도를 보여줬다. 그러나 갤럭시Z플립4의 경우는 방수 등급이 IPX8(장시간 침수되어 수압을 받아도 보호)이지만 레이저 40 울트라는 IP52(분진으로부터의 보호+15도 범위에서 떨어지는 물로부터 보호) 등급에 불과하다.
이번에 나올 '갤럭시Z폴드5·갤럭시Z플립5'는 IP58 등급으로 밝혀졌다. 기존까지는 수준 높은 방수만 지원했으나 방진까지 지원하게 되면서 기술력에 대한 차이를 보여주고 있다. (분진으로부터의 보호+장시간 침수되어 수압을 받아도 보호)

전 세계적으로 힌지를 만들 수 있는 KH바텍의 경쟁사는 애플의 협력업체이기도 한 미국 암페놀(Amphenol)과 중국 AVC, 대만 Shin Zu Shing, Diabell 등이 있다.
KH바텍은 2020년만 하더라도 힌지 제품을 삼성전자에 개당 약 30달러 수준에 납품하고 있던 것으로 추정되는데, 2022년 해외 업체의 경쟁사이자 비보 폴더블폰 힌지를 제작하는 것으로 알려진 'Hangzhou Amphenol Phoenix Telecom'은 과거 기사에서 개당 약 14만 원(800위안), 22만 원이라는 루머도 있었다. 단가에서도 분명한 차이를 보인다.
암페놀은 1932년 설립된 세계 최대 힌지 기업 기업으로 1984년 중국에 진출, 2001년 항저우에 합작 자회사를 투자해 다양한 기계 부품 사업을 하고 있다. 이번에 오포와 협력한 회사가 이 항저우 합작 자회사다.
작년 삼성전자 폴더블폰 힌지를 '싱글 힌지'를 채택하면서 단가가 내려갈 것이라는 과도한 우려도 있었으나, 설계 고도화와 경량화를 위해 부품수를 줄였을 뿐 단가는 거의 비슷한 수준이었던 것으로 보인다.
위에서 언급한 중국 업체들과 구글은 힌지를 '아웃폴딩' 방식으로 제작하거나 물방울 형태의 힌지로 개선시킨 제품들을 출시하면서 접히는 부분의 주름이 크게 개선되었다. 삼성전자도 이와 같은 기술력을 보유했었어도 완성도를 높이기 위해 이번 신작부터 적용하는 것으로 추측된다.


국내 업체 중에서도 삼성전자에 납품하는 힌지의 일부 부품을 이원화했거나 가능성이 있는 업체(파인엠텍, 에스코넥, 서진시스템, 에이유플렉스 등)들이 있으나, 이원화를 했을 경우에도 80~90%의 점유율을 지켜왔다.
5월 19일에 열린 KH바텍 컨퍼런스 콜에서 올해 나올 신작(갤럭시Z플립5, 갤럭시Z폴드5)에 대해서 언급했는데, "이원화가 불가능하지는 않지만, 쉽지 않을 겁니다. 지금까지 못 따라왔는데 물방울 힌지는 더 복잡해졌다.", "3개월 전까지는 단독인지 알 수 없다.", "경쟁사(파인엠텍) 양산 샘플을 보면 견적이 나오는데 쉽지 않은 것 같다."라고 밝혔다.
힌지의 기술적 난이도가 올라감에 따라 공급사 이원화로 인한 점유율(삼성전자 힌지 공급 비중) 축소는 없을 것이라는 자신감을 드러낸 것이다.
그럼에도 증권사 리포트에서는 플립에서의 '일부 이원화' 가능성을 내비쳤는데, 신제품 내 M/S는 플립에서의 일부 이원화 가능성(플립 비중 65%, 65% 내 20% 이원화)을 반영해 전체 출하량 내 87%로 가정했다.
+ 구글 픽셀 폴드, 공식 출시 후 고장 사례 속출과 AS 문제 발생. 두 번째 폴더블폰 출시 잠정 포기.
"삼성, 긴장 안해도 되겠네"…세 번 접었는데 탈 난 구글 '픽셀 폴드'
구글의 첫 번째 폴더블폰 '픽셀 폴드'가 공식 출시된 직후 디스플레이 고장이 잇따르면서 사용자들의 뭇매를 맞고 있다. 삼성전자가 '갤럭시 언팩' 행사일까지 앞당길 정도로 구글의 폴더블폰
n.news.naver.com
삼성전자는 'U자형 힌지'를 사용하다가 올해 나올 신제품에는 '물방울 힌지'로 적용하여 출시할 예정이다.

삼성전자의 올해 폴더블 스마트폰 신작 ‘갤럭시 Z플립5’와 ‘갤럭시 Z폴드5’ 언팩 행사가 7월 26일 서울 강남구 코엑스에서 개최될 것으로 전해졌다. 처음으로 국내에서 열리는 언팩이자 기존 폴더블 스마트폰 공개 시점에서 2주가량 당겨진 일정이다.
KH바텍은 2020년부터 전기차(EV) 부품 사업에서 속도를 내면서 성장동력을 확보하려는 노력을 해왔다. KH바텍은 전기차 배터리팩의 경판(End Plate)을 개발하고 있고, 국내 대형 잠재 고객과 접촉하고 있다.
배터리 셀을 내외부 충격으로부터 보호하는 핵심 부품인 End Plate를 고진공 다이캐스팅 기술로 자체 개발했으며 중장기적으로 전기차용 부품 매출이 본격적으로 발생한다면 KH바텍의 새로운 성장동력이 될 수 있을 것이다.
2021년 9월에는 전기차의 배터리 방열판 등 신사업 투자 및 운전자금의 용도로 335억 원 규모의 사모 교환사채 발행을 결정하기도 했다.
+ 23.06.20 : 218억 규모의 신규시설투자를 진행했다, 투자 목적은 자동차 사업 수주 증대에 따른 Capa 증설이다.
Oppo Find N에서 사용된 물방울 힌지는 U자형 대비 2 배 이상의 가격이었으나 KH바텍은 올해 자사 폴더블 힌지 출하량이 지난해(1천100만 대) 보다 증가하고, 경쟁사 진입 및 전방 고객사를 고려해 ASP은 30% 이상 상승할 것으로 예상했다.
지난해와 비슷한 비중(90%)으로 1천300만 대 힌지를 삼성전자에 공급한다고 가정하면 예상 매출액은 4천억 원 중후반대다. 지난해 KH바텍 연결 매출은 3,640억 원이므로 매출이 두 자릿수 이상 성장하는 셈이다.
※ 본 글과 관련한 투자의 최종 결정은 자신의 판단으로 하시기 바라며 책임 또한 본인에게 있습니다. ※
| 당첨 확률 6%, 에이피알 공모주 청약 성공! 및 종목 분석 (0) | 2024.02.18 |
|---|---|
| 미래에셋맵스리츠(357250) 140억 유상증자, 마제스타시티타워1 취득 (0) | 2023.12.15 |
| 금리 인상에 무관한 미래에셋맵스리츠(357250), 금리 인하에는 더 투자하기 좋은 종목 (0) | 2023.01.31 |
| 솔브레인(357780) 반도체 소재주, 종목 분석 (2) | 2022.07.04 |
| 2022년 MSCI 5월 반기 리뷰 발표 내용 (0) | 2022.05.27 |